Después de lanzar su nueva transmisión Di2 inalámbrica, parece que Shimano ha cogido impulso y, según las patentes filtradas, todo apunta a que está preparando el terreno para presentar una nueva patilla de cambio que podría plantar cara al sistema de enganche directo de SRAM, ofreciendo más estabilidad y resistencia gracias a su innovador diseño.

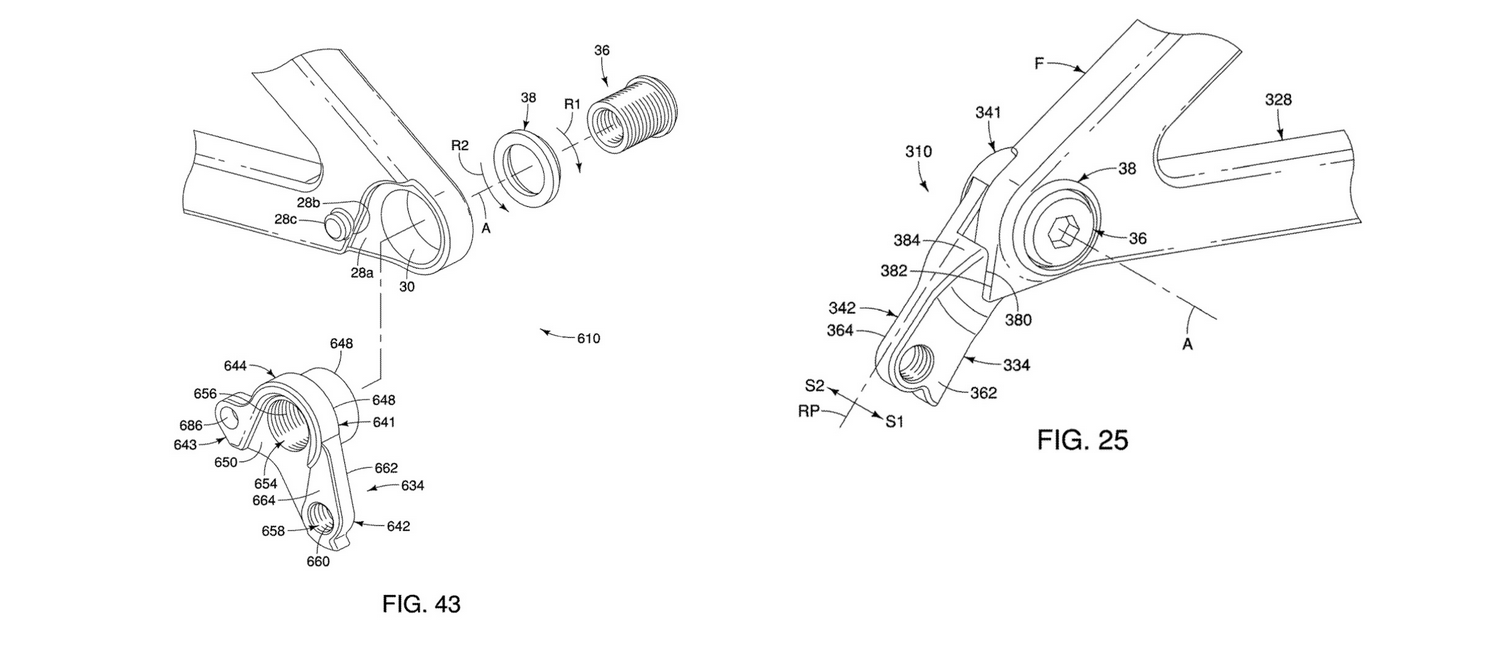
Cuando todo parecía estable en el mundo de las transmisiones, llega Shimano y sorprende con una patente que muestra una patilla con estructura en forma de U, diseñada para proporcionar un doble anclaje al cambio trasero. Esta configuración aumentaría notablemente la rigidez, la precisión y la resistencia frente a los impactos.

Este movimiento supone un giro de 180º en la filosofía de Shimano, ya que la marca japonesa siempre defendió que las patillas debían ser piezas “sacrificables”, es decir, más débiles para romperse en caso de impacto y así proteger el cambio. Ahora, sin embargo, nos encontramos con una nueva propuesta que aumenta la rigidez estructural, reduce la flexión y mejora la precisión del cambio incluso bajo carga, haciéndola casi indestructible ante golpes laterales.

Mientras que SRAM apuesta por anclar el desviador directamente al cuadro mediante dos piezas que lo sujetan, Shimano opta por dos brazos que abrazan el propio cambio trasero. Es una solución distinta, pero con el mismo objetivo: más precisión, más solidez y menos desajustes.

Además, Shimano ha diseñado su nuevo sistema para que sea compatible con la patilla UDH de SRAM, lo que facilitará enormemente la compatibilidad entre cuadros y transmisiones. Pero la cosa no se queda ahí: la patente también deja entrever que el nuevo cambio será inalámbrico y de 13 velocidades. Si esto se confirma, supondría el inicio de un nuevo estándar, dejando las 12V atrás de un solo golpe.
Sin duda, Shimano no siempre presenta sus novedades al ritmo que nos gustaría, pero sabemos que, en su silencio, sigue trabajando para lanzar componentes que revolucionan el mercado. Y cuando lo hace, suele dar un golpe sobre la mesa que hace temblar todo lo establecido. Estaremos atentos a esta posible novedad, que sin duda podría cambiar muchas cosas y volver a igualar la batalla tecnológica con su eterno rival: SRAM.